专利数据库
统计分析
产业报告
专利数据监控
产业人才
行业动态
产业政策法规
维权援助
个人中心
详情
文本
图像
标题
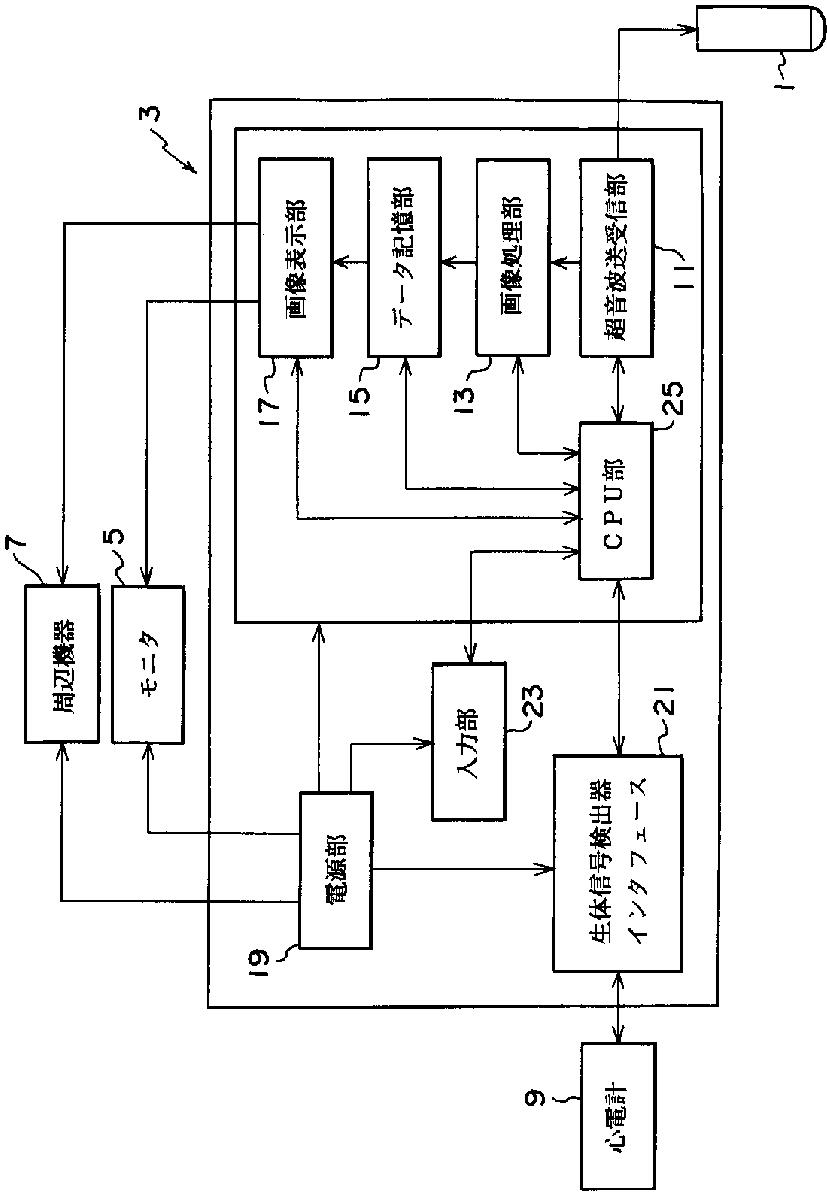
超音波診断装置
授权日
2009-02-20
公开(公告)号
JP4258014B2
申请日
2002-06-04
公开(公告)日
2009-04-30
当前申请(专利权)人
株式会社日立メディコ
发明人
岸本 眞治 | 炭 親良
简单同族
JP2004008350A | JP4258014B2
简单同族成员数量
2
简单同族被引用专利总数
26
诉讼案件数
0
法律状态/事件
未缴年费
抱歉,您的浏览器不支持PDF预览,请点击链接下载PDF文件