专利数据库
统计分析
产业报告
专利数据监控
产业人才
行业动态
产业政策法规
维权援助
个人中心
详情
文本
图像
标题
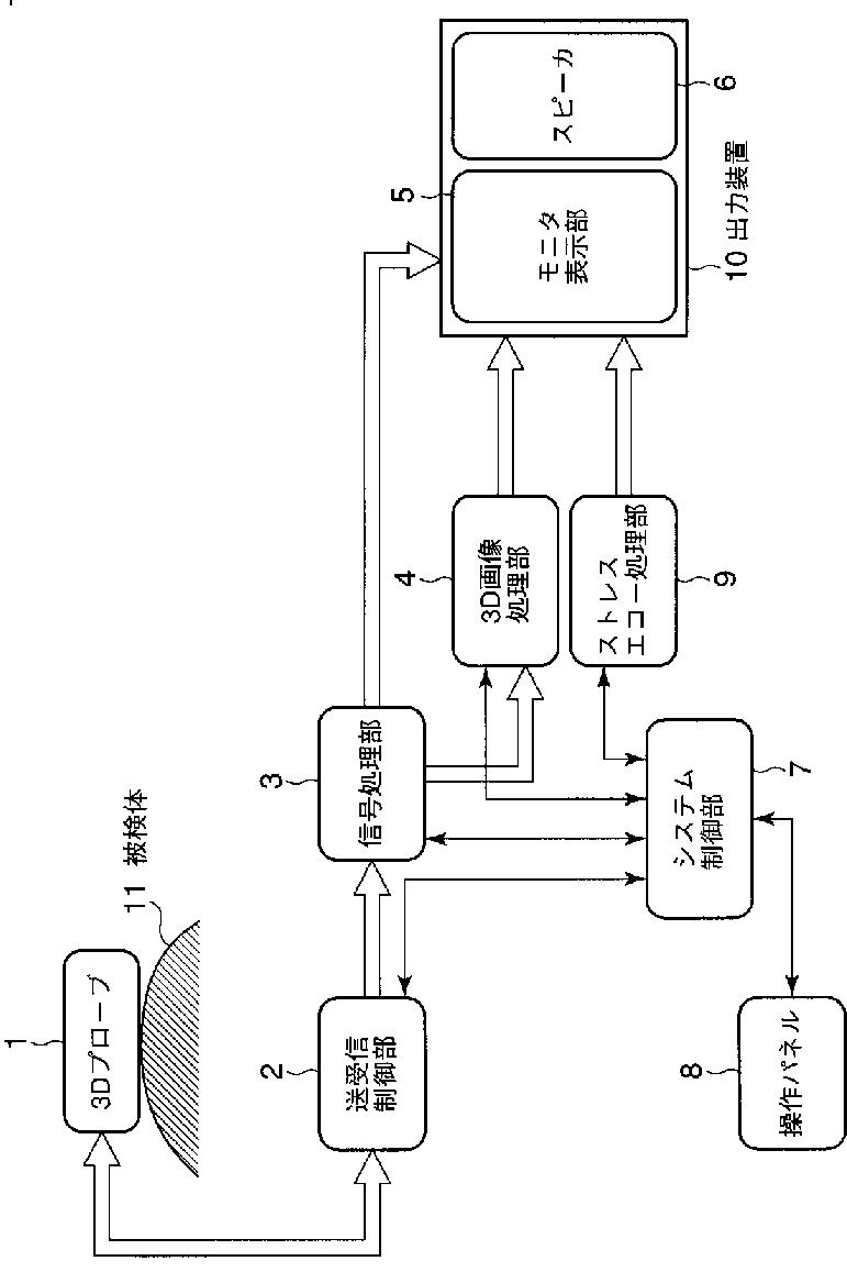
超音波診断装置及び該装置の診断プログラム
授权日
2012-06-22
公开(公告)号
JP5019562B2
申请日
2006-06-01
公开(公告)日
2012-09-05
当前申请(专利权)人
株式会社東芝 | 東芝メディカルシステムズ株式会社
发明人
市岡 健一 | 潟口 宗基
简单同族
CN101081172A | CN101081172B | JP2007319467A | JP5019562B2 | US20080051652A1
简单同族成员数量
5
简单同族被引用专利总数
31
诉讼案件数
0
法律状态/事件
授权 | 权利转移
抱歉,您的浏览器不支持PDF预览,请点击链接下载PDF文件