专利数据库
统计分析
产业报告
专利数据监控
产业人才
行业动态
产业政策法规
维权援助
个人中心
详情
文本
图像
标题
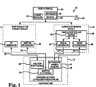
超音波映像性能を備えた切除プローブ
授权日
1900-01-01
公开(公告)号
JP2014516723A
申请日
2012-04-02
公开(公告)日
2014-07-17
当前申请(专利权)人
ボストン サイエンティフィック サイムド,インコーポレイテッド
发明人
マギー、デイビッド エル.
简单同族
AU2012262959A1 | EP2713888A1 | EP2713888B1 | JP2014516723A | US20120310064A1 | US9241687 | WO2012166239A1
简单同族成员数量
7
简单同族被引用专利总数
37
诉讼案件数
0
法律状态/事件
驳回
抱歉,您的浏览器不支持PDF预览,请点击链接下载PDF文件