专利数据库
统计分析
产业报告
专利数据监控
产业人才
行业动态
产业政策法规
维权援助
个人中心
详情
文本
图像
标题
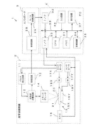
超音波画像検査方法、超音波画像検査装置
授权日
1900-01-01
公开(公告)号
JP2006078408A
申请日
2004-09-10
公开(公告)日
2006-03-23
当前申请(专利权)人
国立大学法人豊橋技術科学大学 | 本多電子株式会社
发明人
穂積 直裕 | 長尾 雅行 | 小林 和人
简单同族
JP2006078408A | JP4654335B2
简单同族成员数量
2
简单同族被引用专利总数
19
诉讼案件数
0
法律状态/事件
授权
抱歉,您的浏览器不支持PDF预览,请点击链接下载PDF文件