专利数据库
统计分析
产业报告
专利数据监控
产业人才
行业动态
产业政策法规
维权援助
个人中心
详情
文本
图像
标题
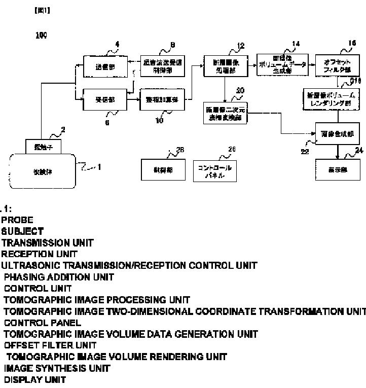
超音波診断装置、超音波画像処理装置、超音波画像処理プログラム、及び超音波画像生成方法
授权日
1900-01-01
公开(公告)号
JPWO2010143587A1
申请日
2010-06-04
公开(公告)日
2012-11-22
当前申请(专利权)人
株式会社日立メディコ
发明人
辻田 剛啓
简单同族
CN102458255A | CN102458255B | EP2441389A1 | EP2441389A4 | JP5730196B2 | JPWO2010143587A1 | JPWO2010143587A5 | US20120087564A1 | US8948485 | WO2010143587A1
简单同族成员数量
10
简单同族被引用专利总数
29
诉讼案件数
0
法律状态/事件
授权 | 权利转移
抱歉,您的浏览器不支持PDF预览,请点击链接下载PDF文件