专利数据库
统计分析
产业报告
专利数据监控
产业人才
行业动态
产业政策法规
维权援助
个人中心
详情
文本
图像
标题
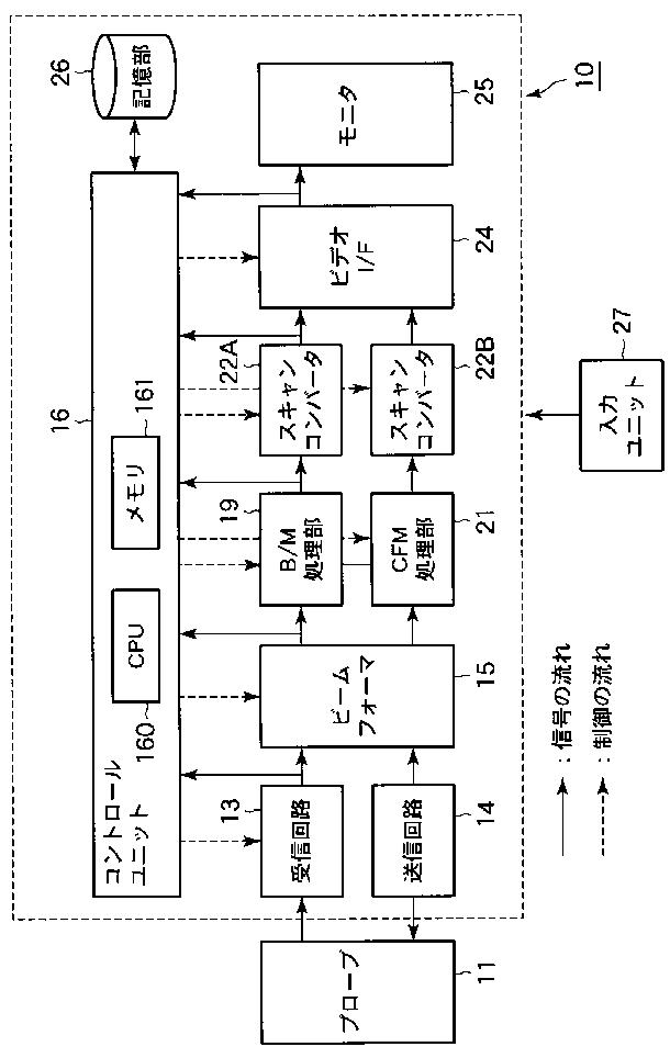
超音波信号解析装置、超音波信号解析方法、超音波解析プログラム、超音波診断装置、及び超音波診断装置の制御方法
授权日
1900-01-01
公开(公告)号
JP2007236606A
申请日
2006-03-08
公开(公告)日
2007-09-20
当前申请(专利权)人
株式会社東芝 | 東芝メディカルシステムズ株式会社
发明人
神田 良一 | 阿部 康彦
简单同族
JP2007236606A | JP4764209B2
简单同族成员数量
2
简单同族被引用专利总数
18
诉讼案件数
0
法律状态/事件
授权 | 权利转移
抱歉,您的浏览器不支持PDF预览,请点击链接下载PDF文件