专利数据库
统计分析
产业报告
专利数据监控
产业人才
行业动态
产业政策法规
维权援助
个人中心
详情
文本
图像
标题
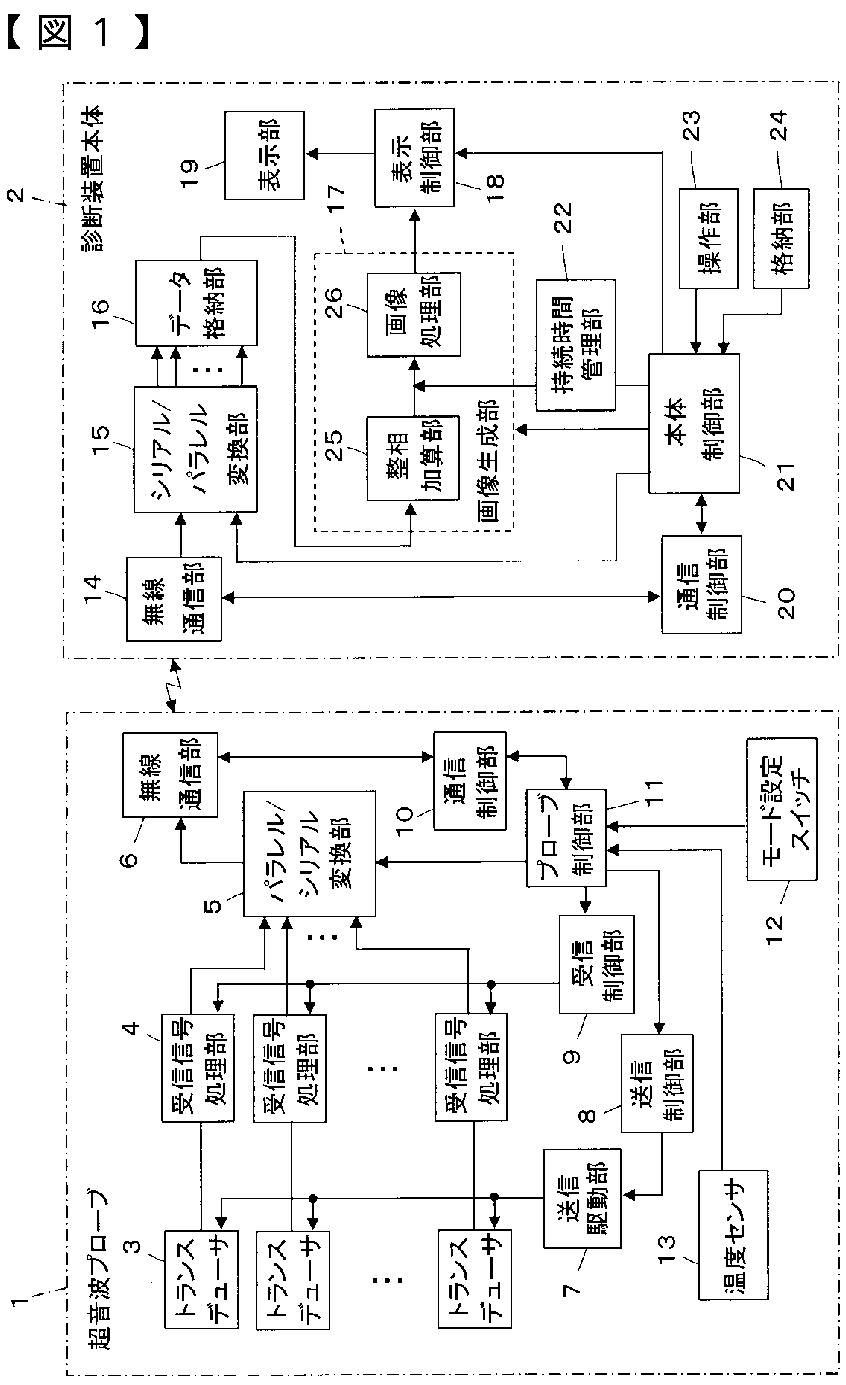
超音波診断装置および超音波画像生成方法
授权日
2013-04-19
公开(公告)号
JP5250064B2
申请日
2011-03-03
公开(公告)日
2013-07-31
当前申请(专利权)人
富士フイルム株式会社
发明人
工藤 吉光
简单同族
CN102652677A | CN102652677B | JP2012179328A | JP5250064B2 | US20120226160A1
简单同族成员数量
5
简单同族被引用专利总数
39
诉讼案件数
0
法律状态/事件
授权
抱歉,您的浏览器不支持PDF预览,请点击链接下载PDF文件