专利数据库
统计分析
产业报告
专利数据监控
产业人才
行业动态
产业政策法规
维权援助
个人中心
详情
文本
图像
标题
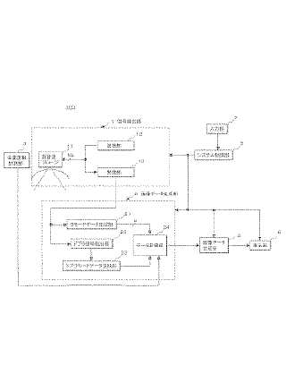
画像診断·治療支援装置及び画像データ表示方法
授权日
1900-01-01
公开(公告)号
JP2007125169A
申请日
2005-11-02
公开(公告)日
2007-05-24
当前申请(专利权)人
株式会社東芝 | 東芝メディカルシステムズ株式会社 | 東芝医用システムエンジニアリング株式会社
发明人
山形 仁 | 江馬 武博 | 青柳 康太
简单同族
JP2007125169A | JP4801968B2
简单同族成员数量
2
简单同族被引用专利总数
19
诉讼案件数
0
法律状态/事件
授权 | 权利转移
抱歉,您的浏览器不支持PDF预览,请点击链接下载PDF文件