专利数据库
统计分析
产业报告
专利数据监控
产业人才
行业动态
产业政策法规
维权援助
个人中心
详情
文本
图像
标题
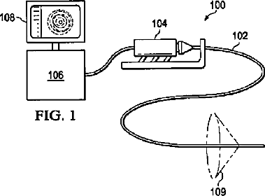
撮像及び血流測定のための超音波カテーテル
授权日
1900-01-01
公开(公告)号
JP2015515918A
申请日
2013-05-10
公开(公告)日
2015-06-04
当前申请(专利权)人
ボルケーノ コーポレイション
发明人
ポール·ダグラス·コール
简单同族
CA2873399A1 | EP2846698A1 | EP2846698A4 | EP2846698B1 | JP2015515918A | JP6211599B2 | US20130303920A1 | US20170290562A1 | US9717475 | WO2013170207A1
简单同族成员数量
10
简单同族被引用专利总数
64
诉讼案件数
0
法律状态/事件
授权
抱歉,您的浏览器不支持PDF预览,请点击链接下载PDF文件