专利数据库
统计分析
产业报告
专利数据监控
产业人才
行业动态
产业政策法规
维权援助
个人中心
详情
文本
图像
标题
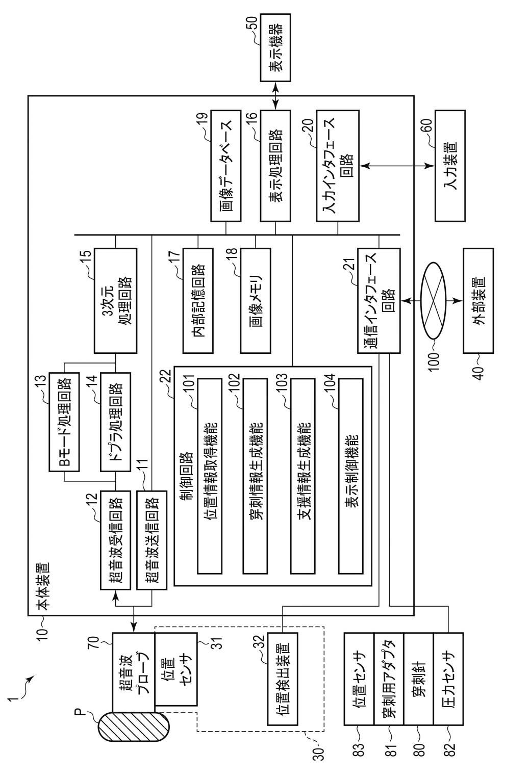
超音波診断装置および超音波診断支援プログラム
授权日
1900-01-01
公开(公告)号
JP2018192246A
申请日
2018-05-08
公开(公告)日
2018-12-06
当前申请(专利权)人
キヤノンメディカルシステムズ株式会社
发明人
奥村 貴敏 | 貞光 和俊 | 福尾 悠平 | 菊地 紀久 | 西野 正敏 | 後藤 義徳 | 米山 直樹
简单同族
JP2018192246A | US20180333138A1
简单同族成员数量
2
简单同族被引用专利总数
0
诉讼案件数
0
法律状态/事件
公开
抱歉,您的浏览器不支持PDF预览,请点击链接下载PDF文件