专利数据库
统计分析
产业报告
专利数据监控
产业人才
行业动态
产业政策法规
维权援助
个人中心
详情
文本
图像
标题
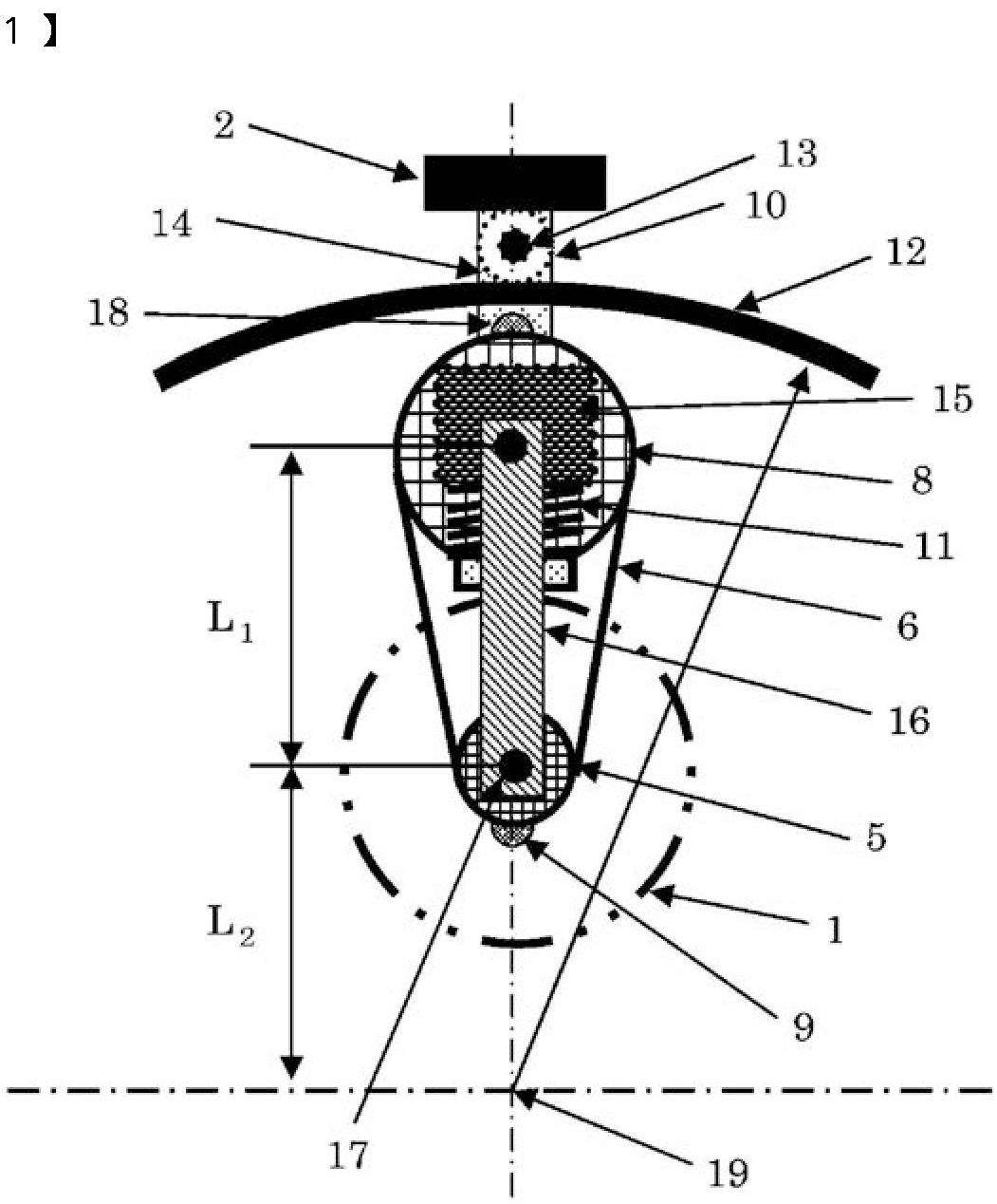
超音波探触子
授权日
2012-02-24
公开(公告)号
JP4933548B2
申请日
2007-07-19
公开(公告)日
2012-05-16
当前申请(专利权)人
パナソニック株式会社
发明人
藤井 清 | 島崎 彰 | 新海 正弘 | 大川 栄一
简单同族
CN101489487A | CN101489487B | CN101966089A | CN101966089B | EP2050397A1 | EP2050397A4 | EP2050397B1 | JP4933548B2 | JPWO2008010558A1 | KR100993038B1 | KR1020090033446A | US20090275836A1 | US8974392 | WO2008010558A1
简单同族成员数量
14
简单同族被引用专利总数
50
诉讼案件数
0
法律状态/事件
未缴年费 | 权利转移
抱歉,您的浏览器不支持PDF预览,请点击链接下载PDF文件