专利数据库
统计分析
产业报告
专利数据监控
产业人才
行业动态
产业政策法规
维权援助
个人中心
详情
文本
图像
标题
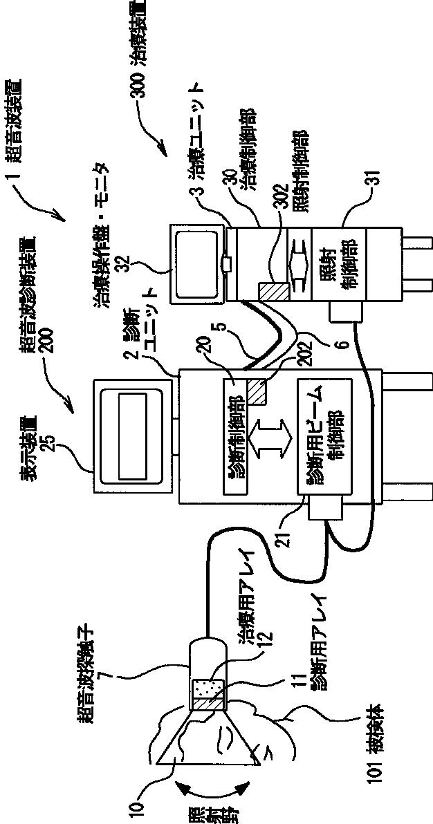
超音波装置
授权日
2012-03-30
公开(公告)号
JP4958475B2
申请日
2006-05-19
公开(公告)日
2012-06-20
当前申请(专利权)人
株式会社日立メディコ
发明人
窪田 純 | 東 隆 | 梅村 晋一郎 | 石田 一成
简单同族
JP2007307188A | JP4958475B2
简单同族成员数量
2
简单同族被引用专利总数
20
诉讼案件数
0
法律状态/事件
未缴年费
抱歉,您的浏览器不支持PDF预览,请点击链接下载PDF文件