专利数据库
统计分析
产业报告
专利数据监控
产业人才
行业动态
产业政策法规
维权援助
个人中心
详情
文本
图像
标题
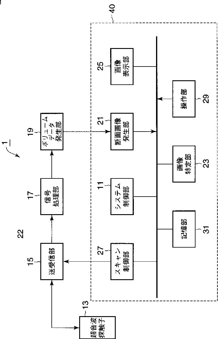
超音波診断装置及び超音波走査プログラム
授权日
2013-09-20
公开(公告)号
JP5366385B2
申请日
2007-09-26
公开(公告)日
2013-12-11
当前申请(专利权)人
株式会社東芝 | 東芝メディカルシステムズ株式会社
发明人
郡司 隆之 | 樋口 治郎 | 後藤 英二 | 中嶋 修
简单同族
CN101396288A | CN101396288B | JP2009077961A | JP5366385B2 | US20090082675A1 | US8366621
简单同族成员数量
6
简单同族被引用专利总数
20
诉讼案件数
0
法律状态/事件
授权 | 权利转移
抱歉,您的浏览器不支持PDF预览,请点击链接下载PDF文件