专利数据库
统计分析
产业报告
专利数据监控
产业人才
行业动态
产业政策法规
维权援助
个人中心
详情
文本
图像
标题
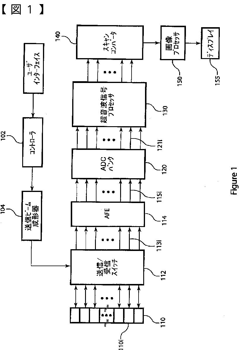
超音波信号の圧縮
授权日
2015-03-20
公开(公告)号
JP5715621B2
申请日
2010-05-28
公开(公告)日
2015-05-07
当前申请(专利权)人
アルテラ コーポレイション
发明人
ウェゲナー アルバート ダブリュー | ナネヴィクツ マイケル ヴィ
简单同族
CN101904751A | CN101904751B | CN201855273U | EP2437665A2 | JP2012528685A | JP2012528685A5 | JP5715621B2 | KR101647797B1 | KR1020120037918A | US20100305449A1 | US20120157852A1 | US8157738 | US8795180 | WO2010141370A2 | WO2010141370A3
简单同族成员数量
15
简单同族被引用专利总数
82
诉讼案件数
0
法律状态/事件
授权 | 权利转移
抱歉,您的浏览器不支持PDF预览,请点击链接下载PDF文件