专利数据库
统计分析
产业报告
专利数据监控
产业人才
行业动态
产业政策法规
维权援助
个人中心
详情
文本
图像
标题
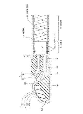
超音波探触子
授权日
1900-01-01
公开(公告)号
JP2009082360A
申请日
2007-09-28
公开(公告)日
2009-04-23
当前申请(专利权)人
富士フイルム株式会社
发明人
永野 和彦 | 大澤 敦
简单同族
CN101396289A | CN101396289B | JP2009082360A | JP5329065B2 | US20090088646A1 | US8382673
简单同族成员数量
6
简单同族被引用专利总数
70
诉讼案件数
0
法律状态/事件
授权
抱歉,您的浏览器不支持PDF预览,请点击链接下载PDF文件