专利数据库
统计分析
产业报告
专利数据监控
产业人才
行业动态
产业政策法规
维权援助
个人中心
详情
文本
图像
标题
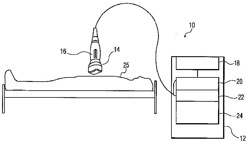
旋回3次元超音波表示の振動対象との同期化
授权日
1900-01-01
公开(公告)号
JP2006526451A
申请日
2004-05-27
公开(公告)日
2006-11-24
当前申请(专利权)人
コーニンクレッカ フィリップス エレクトロニクス エヌ ヴィ
发明人
ティーレ,カール
简单同族
CN1798988A | CN1798988B | JP2006526451A | JP4855926B2 | US20070032724A1 | US7704208 | WO2004106970A1
简单同族成员数量
7
简单同族被引用专利总数
18
诉讼案件数
0
法律状态/事件
授权
抱歉,您的浏览器不支持PDF预览,请点击链接下载PDF文件