专利数据库
统计分析
产业报告
专利数据监控
产业人才
行业动态
产业政策法规
维权援助
个人中心
详情
文本
图像
标题
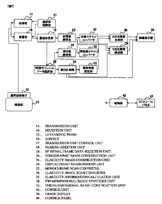
超音波診断装置及び画像構成方法
授权日
1900-01-01
公开(公告)号
JPWO2011052400A1
申请日
2010-10-15
公开(公告)日
2013-03-21
当前申请(专利权)人
株式会社日立メディコ
发明人
辻田 剛啓
简单同族
JP5647990B2 | JPWO2011052400A1 | JPWO2011052400A5 | US20120203108A1 | WO2011052400A1
简单同族成员数量
5
简单同族被引用专利总数
20
诉讼案件数
0
法律状态/事件
授权 | 权利转移
抱歉,您的浏览器不支持PDF预览,请点击链接下载PDF文件