专利数据库
统计分析
产业报告
专利数据监控
产业人才
行业动态
产业政策法规
维权援助
个人中心
详情
文本
图像
标题
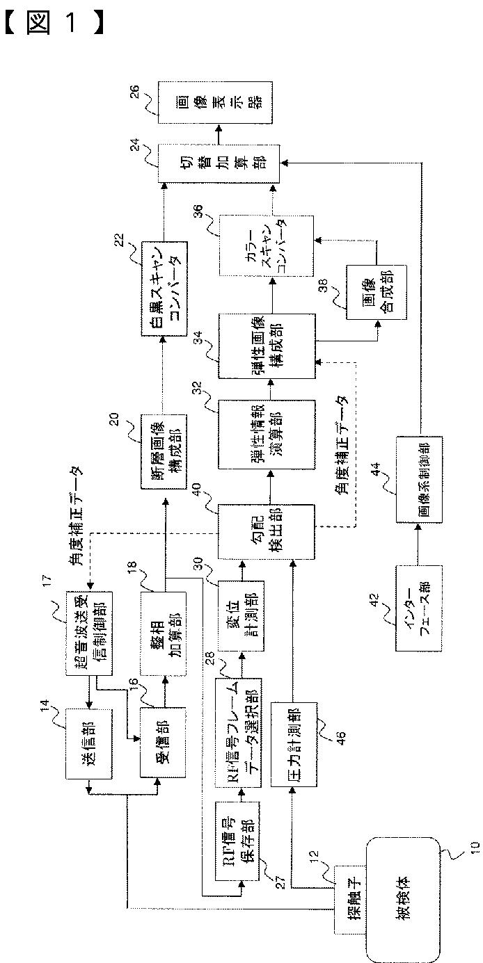
超音波診断装置及び弾性画像表示方法
授权日
2013-12-20
公开(公告)号
JP5436533B2
申请日
2010-02-16
公开(公告)日
2014-03-05
当前申请(专利权)人
株式会社日立メディコ
发明人
脇 康治
简单同族
JP5436533B2 | JPWO2010098233A1 | US20110301465A1 | US8734353 | WO2010098233A1
简单同族成员数量
5
简单同族被引用专利总数
20
诉讼案件数
0
法律状态/事件
未缴年费 | 权利转移
抱歉,您的浏览器不支持PDF预览,请点击链接下载PDF文件