专利数据库
统计分析
产业报告
专利数据监控
产业人才
行业动态
产业政策法规
维权援助
个人中心
详情
文本
图像
标题
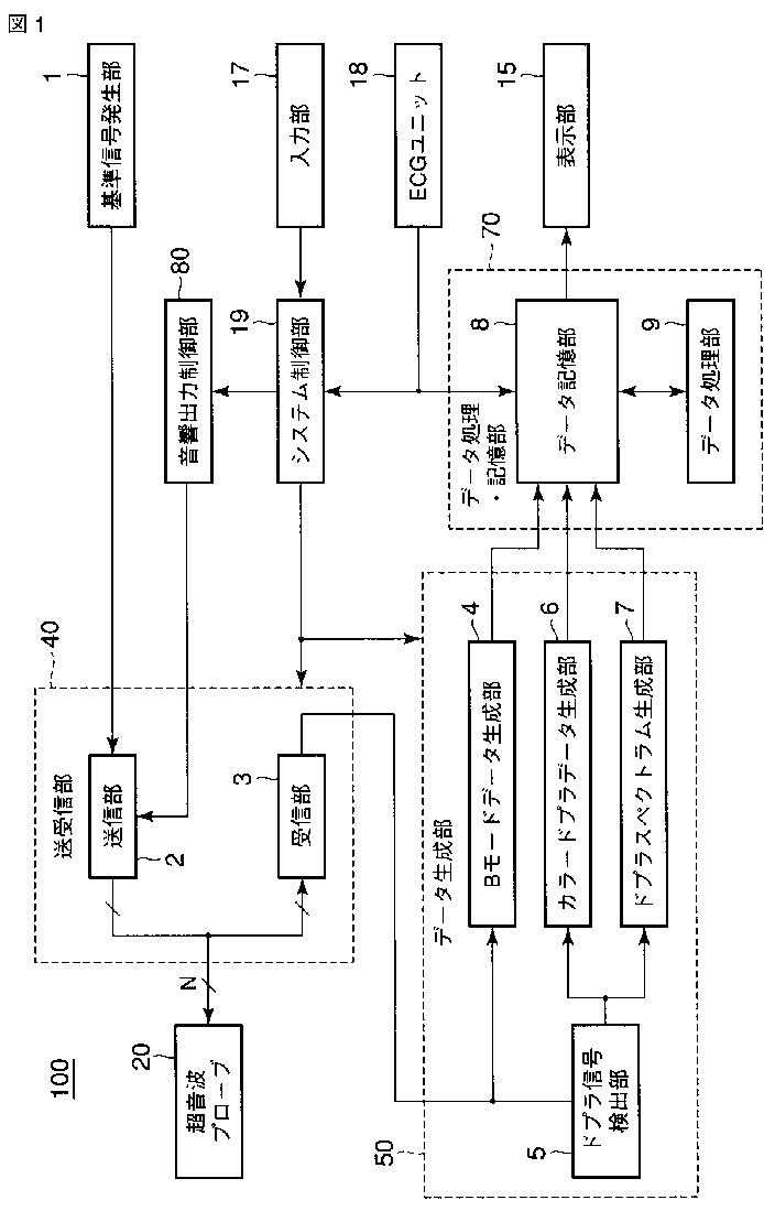
超音波ドプラ診断装置及び超音波ドプラ診断装置の制御プログラム
授权日
1900-01-01
公开(公告)号
JP2007319540A
申请日
2006-06-02
公开(公告)日
2007-12-13
当前申请(专利权)人
株式会社東芝 | 東芝メディカルシステムズ株式会社
发明人
滝本 雅夫 | 潟口 宗基 | 掛江 明弘 | 今村 智久 | 坂口 文康 | 鷲見 篤司
简单同族
CN100571638C | CN101081170A | CN101732074A | CN101732074B | JP2007319540A | JP4960021B2 | US20080009737A1 | US8727992
简单同族成员数量
8
简单同族被引用专利总数
28
诉讼案件数
0
法律状态/事件
授权 | 权利转移
抱歉,您的浏览器不支持PDF预览,请点击链接下载PDF文件