专利数据库
统计分析
产业报告
专利数据监控
产业人才
行业动态
产业政策法规
维权援助
个人中心
详情
文本
图像
标题
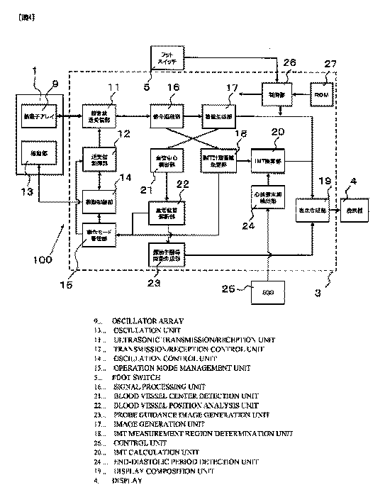
超音波診断装置およびそれを用いた検出対象部位の画像表示方法と計測方法
授权日
1900-01-01
公开(公告)号
JPWO2011074271A1
申请日
2010-12-17
公开(公告)日
2013-04-25
当前申请(专利权)人
コニカミノルタ株式会社
发明人
占部 真樹子 | 斉藤 孝悦 | 川端 章裕 | 右田 学 | 西垣 森緒 | 加藤 隆一
简单同族
CN102573649A | CN102573649B | EP2514365A1 | EP2514365A4 | JP5672241B2 | JPWO2011074271A1 | US20120296214A1 | US9220477 | WO2011074271A1
简单同族成员数量
9
简单同族被引用专利总数
34
诉讼案件数
0
法律状态/事件
授权 | 权利转移
抱歉,您的浏览器不支持PDF预览,请点击链接下载PDF文件