专利数据库
统计分析
产业报告
专利数据监控
产业人才
行业动态
产业政策法规
维权援助
个人中心
详情
文本
图像
标题
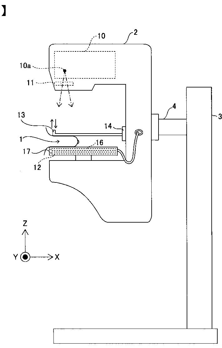
医用撮像装置
授权日
2013-06-21
公开(公告)号
JP5296414B2
申请日
2008-05-21
公开(公告)日
2013-09-25
当前申请(专利权)人
富士フイルム株式会社
发明人
三上 勇志 | 千代 知成
简单同族
JP2009279111A | JP5296414B2 | US20090290679A1 | US7756246
简单同族成员数量
4
简单同族被引用专利总数
29
诉讼案件数
0
法律状态/事件
未缴年费
抱歉,您的浏览器不支持PDF预览,请点击链接下载PDF文件