专利数据库
统计分析
产业报告
专利数据监控
产业人才
行业动态
产业政策法规
维权援助
个人中心
详情
文本
图像
标题
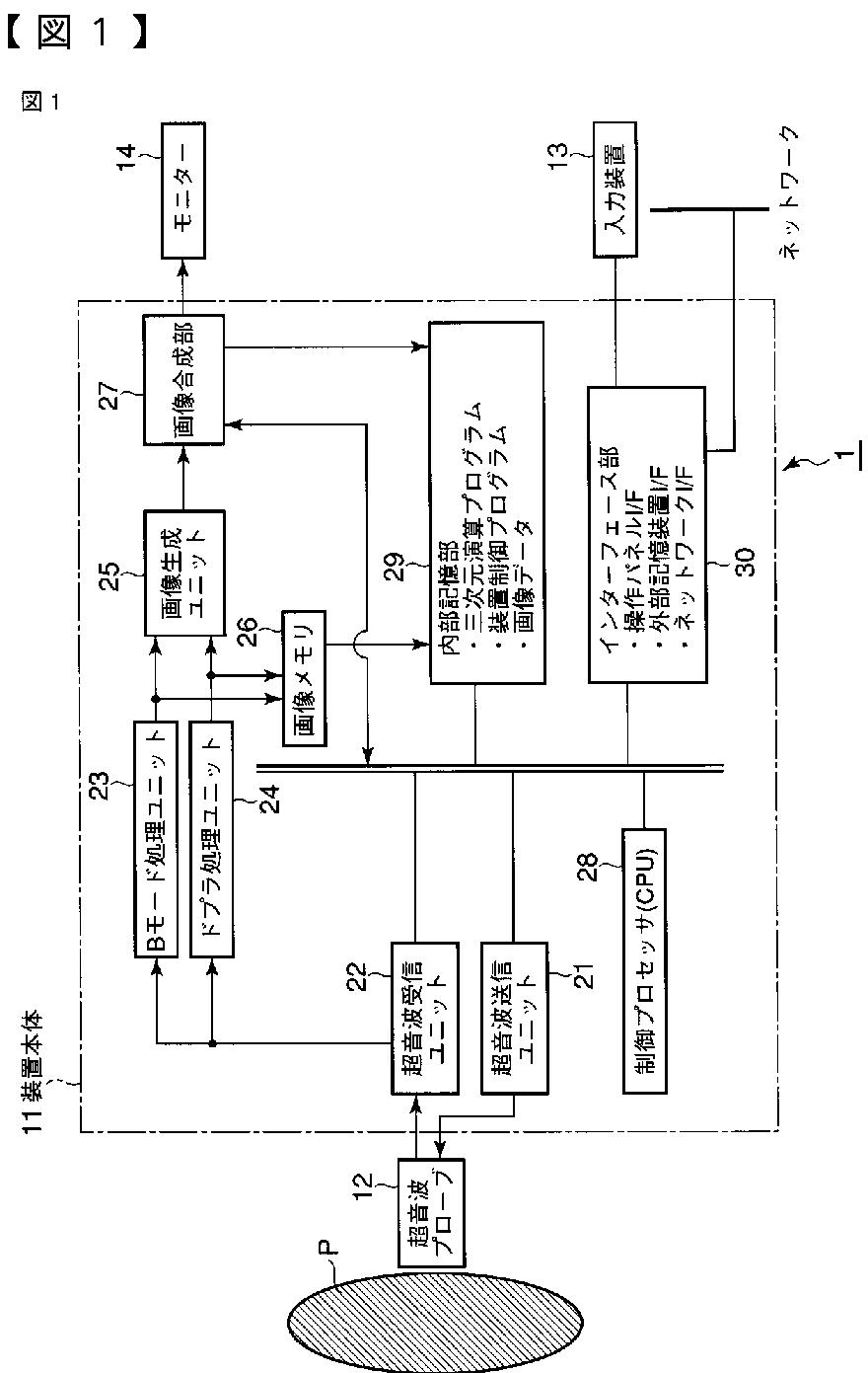
超音波診断装置、超音波画像の取得方法及びプログラム
授权日
2013-10-25
公开(公告)号
JP5395371B2
申请日
2008-06-18
公开(公告)日
2014-01-22
当前申请(专利权)人
株式会社東芝 | 東芝メディカルシステムズ株式会社
发明人
岡村 陽子 | 神山 直久
简单同族
CN101606853A | CN101606853B | EP2135557A1 | EP2135557B1 | JP2010000143A | JP5395371B2 | US20090318809A1 | US9568598
简单同族成员数量
8
简单同族被引用专利总数
24
诉讼案件数
0
法律状态/事件
授权 | 权利转移
抱歉,您的浏览器不支持PDF预览,请点击链接下载PDF文件