专利数据库
统计分析
产业报告
专利数据监控
产业人才
行业动态
产业政策法规
维权援助
个人中心
详情
文本
图像
标题
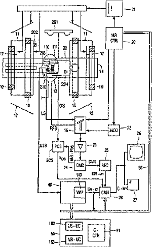
超音波プローブを有する診断撮像システム
授权日
1900-01-01
公开(公告)号
JP2003516797A
申请日
2000-12-07
公开(公告)日
2003-05-20
当前申请(专利权)人
コーニンクレッカ フィリップス エレクトロニクス エヌ ヴィ
发明人
ファン デン ブリンク,ヨーハン エス | フィセル,フレデリク | クーン,ミカエル ハー
简单同族
DE60027887D1 | DE60027887T2 | EP1182970A2 | EP1182970B1 | JP2003516797A | JP4955172B2 | US20020128550A1 | US6505063 | WO2001043640A2 | WO2001043640A3
简单同族成员数量
10
简单同族被引用专利总数
110
诉讼案件数
0
法律状态/事件
未缴年费
抱歉,您的浏览器不支持PDF预览,请点击链接下载PDF文件