专利数据库
统计分析
产业报告
专利数据监控
产业人才
行业动态
产业政策法规
维权援助
个人中心
详情
文本
图像
标题
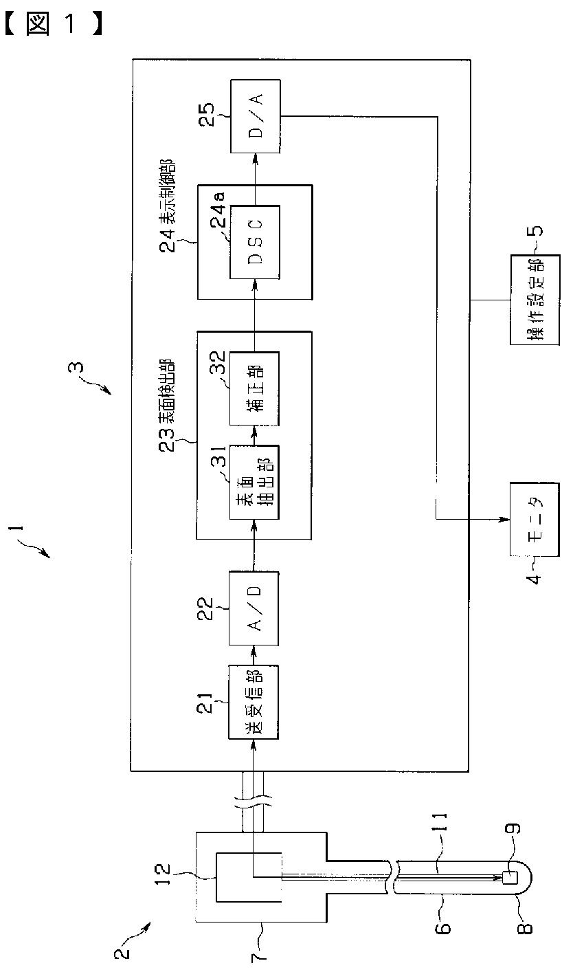
超音波診断装置
授权日
2008-12-05
公开(公告)号
JP4225830B2
申请日
2003-05-14
公开(公告)日
2009-02-18
当前申请(专利权)人
オリンパス株式会社
发明人
服部 浩 | 阿部 政佳
简单同族
JP2004337312A | JP4225830B2
简单同族成员数量
2
简单同族被引用专利总数
0
诉讼案件数
0
法律状态/事件
授权 | 权利转移
抱歉,您的浏览器不支持PDF预览,请点击链接下载PDF文件