专利数据库
统计分析
产业报告
专利数据监控
产业人才
行业动态
产业政策法规
维权援助
个人中心
详情
文本
图像
标题
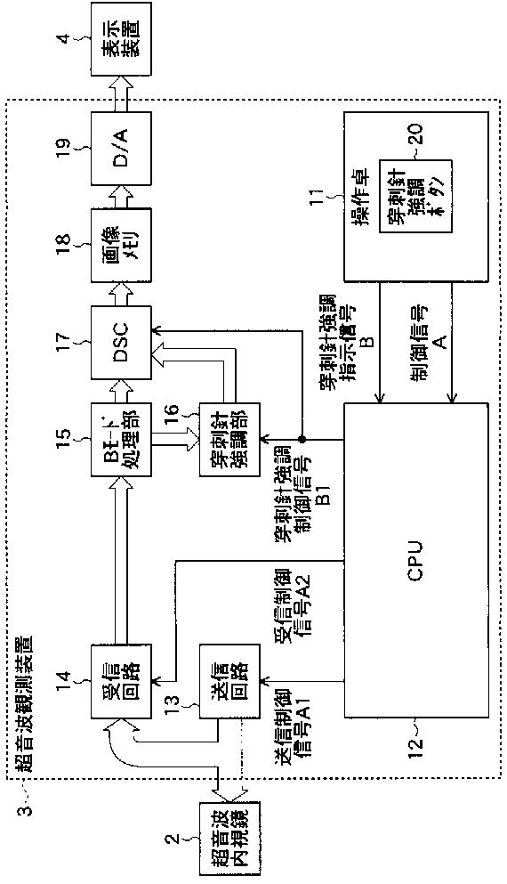
超音波観測装置、超音波内視鏡装置、及び、画像処理方法
授权日
1900-01-01
公开(公告)号
JP2006175006A
申请日
2004-12-22
公开(公告)日
2006-07-06
当前申请(专利权)人
富士写真フイルム株式会社
发明人
佐藤 良彰
简单同族
JP2006175006A
简单同族成员数量
1
简单同族被引用专利总数
19
诉讼案件数
0
法律状态/事件
撤回 | 权利转移
抱歉,您的浏览器不支持PDF预览,请点击链接下载PDF文件