专利数据库
统计分析
产业报告
专利数据监控
产业人才
行业动态
产业政策法规
维权援助
个人中心
详情
文本
图像
标题
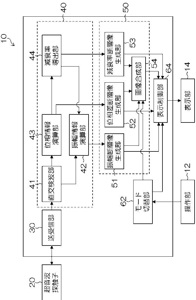
超音波信号処理装置及び方法
授权日
1900-01-01
公开(公告)号
JP2010082230A
申请日
2008-09-30
公开(公告)日
2010-04-15
当前申请(专利权)人
富士フイルム株式会社
发明人
勝山 公人
简单同族
EP2169426A1 | JP2010082230A | US20100087736A1
简单同族成员数量
3
简单同族被引用专利总数
19
诉讼案件数
0
法律状态/事件
撤回
抱歉,您的浏览器不支持PDF预览,请点击链接下载PDF文件