专利数据库
统计分析
产业报告
专利数据监控
产业人才
行业动态
产业政策法规
维权援助
个人中心
详情
文本
图像
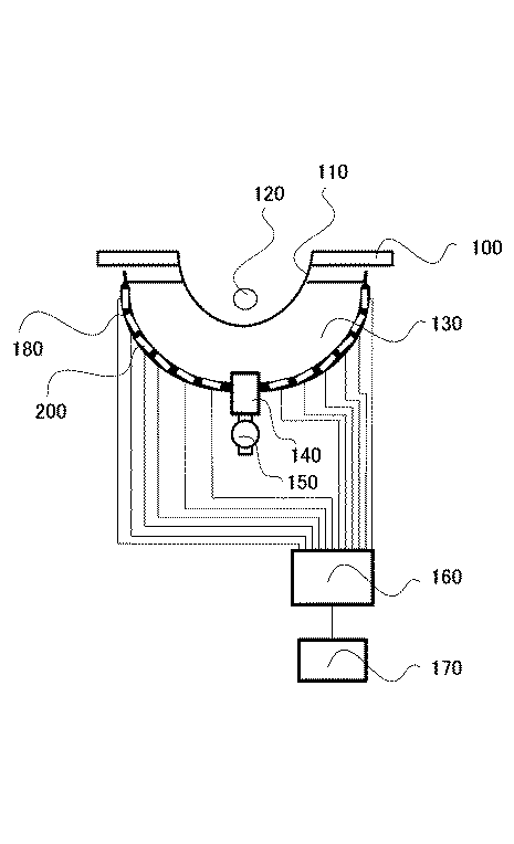
标题
超音波プローブ
授权日
1900-01-01
公开(公告)号
JP2017042189A
申请日
2015-08-24
公开(公告)日
2017-03-02
当前申请(专利权)人
キヤノン株式会社
发明人
加藤 綾子 | 笠貫 有二 | 正木 文太郎 | 大古場 稔
简单同族
JP2017042189A
简单同族成员数量
1
简单同族被引用专利总数
0
诉讼案件数
0
法律状态/事件
撤回
抱歉,您的浏览器不支持PDF预览,请点击链接下载PDF文件