专利数据库
统计分析
产业报告
专利数据监控
产业人才
行业动态
产业政策法规
维权援助
个人中心
详情
文本
图像
标题
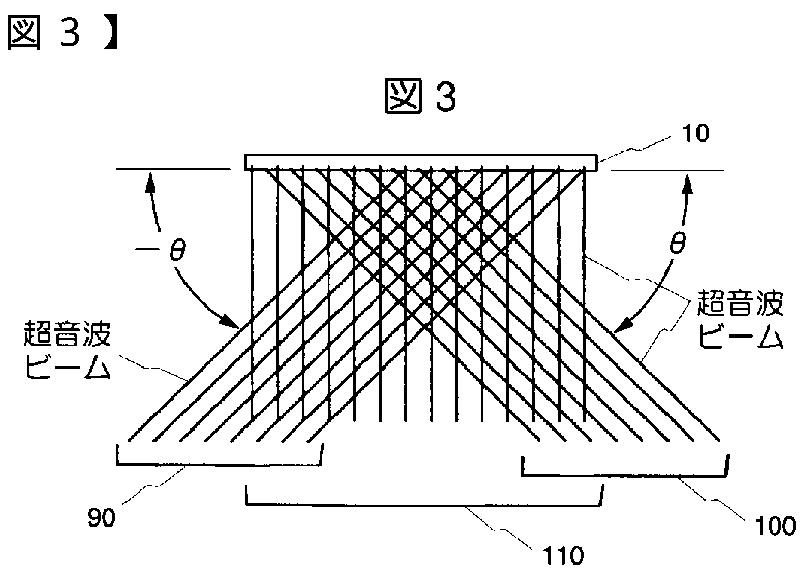
超音波診断装置
授权日
2008-10-17
公开(公告)号
JP4201311B2
申请日
2002-03-12
公开(公告)日
2008-12-24
当前申请(专利权)人
株式会社日立メディコ
发明人
篠村 隆一 | 神田 浩 | 玉野 聡
简单同族
CN100388907C | CN1642485A | EP1484019A1 | EP1484019A4 | JP2003260055A | JP2003260055A5 | JP4201311B2 | US20050124880A1 | US7474778 | WO2003075768A1
简单同族成员数量
10
简单同族被引用专利总数
83
诉讼案件数
0
法律状态/事件
未缴年费
抱歉,您的浏览器不支持PDF预览,请点击链接下载PDF文件