专利数据库
统计分析
产业报告
专利数据监控
产业人才
行业动态
产业政策法规
维权援助
个人中心
详情
文本
图像
标题
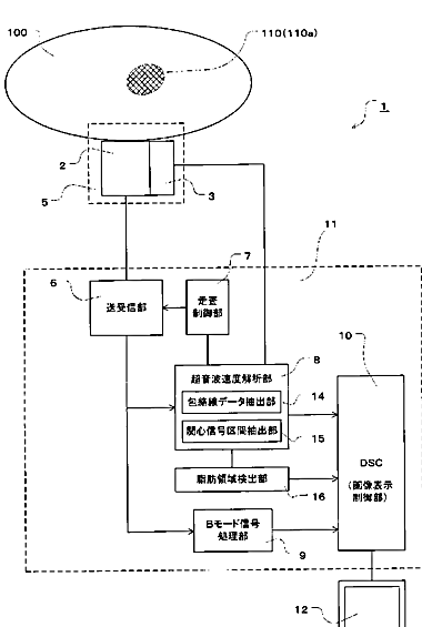
脂肪組織検出方法および脂肪組織検出装置
授权日
1900-01-01
公开(公告)号
JP2010005271A
申请日
2008-06-30
公开(公告)日
2010-01-14
当前申请(专利权)人
公立大学法人大阪府立大学
发明人
堀中 博道 | 松中 敏行 | 川上 俊介
简单同族
JP2010005271A | JP5291999B2
简单同族成员数量
2
简单同族被引用专利总数
20
诉讼案件数
0
法律状态/事件
授权 | 权利转移
抱歉,您的浏览器不支持PDF预览,请点击链接下载PDF文件