专利数据库
统计分析
产业报告
专利数据监控
产业人才
行业动态
产业政策法规
维权援助
个人中心
详情
文本
图像
标题
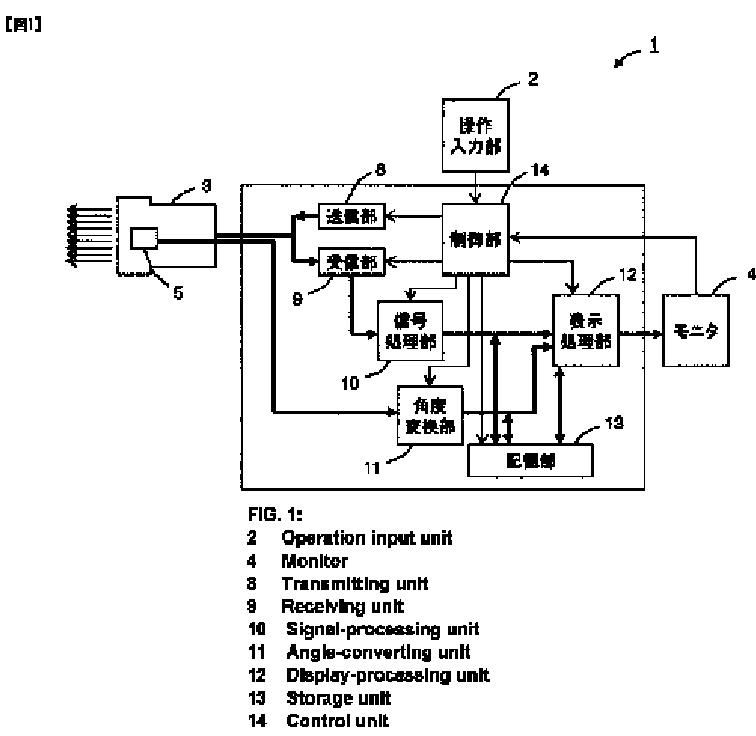
超音波診断装置および超音波診断システム
授权日
1900-01-01
公开(公告)号
JPWO2012063420A1
申请日
2011-10-27
公开(公告)日
2014-05-12
当前申请(专利权)人
コニカミノルタ株式会社
发明人
木元 貴士 | 佐竹 克己 | 深井 誠一 | 内川 智 | 平澤 一 | 木村 正男
简单同族
CN102843973A | CN102843973B | EP2638859A1 | EP2638859A4 | JP5842810B2 | JPWO2012063420A1 | US20130018263A1 | US9498185 | WO2012063420A1
简单同族成员数量
9
简单同族被引用专利总数
24
诉讼案件数
0
法律状态/事件
授权 | 权利转移
抱歉,您的浏览器不支持PDF预览,请点击链接下载PDF文件