专利数据库
统计分析
产业报告
专利数据监控
产业人才
行业动态
产业政策法规
维权援助
个人中心
详情
文本
图像
标题
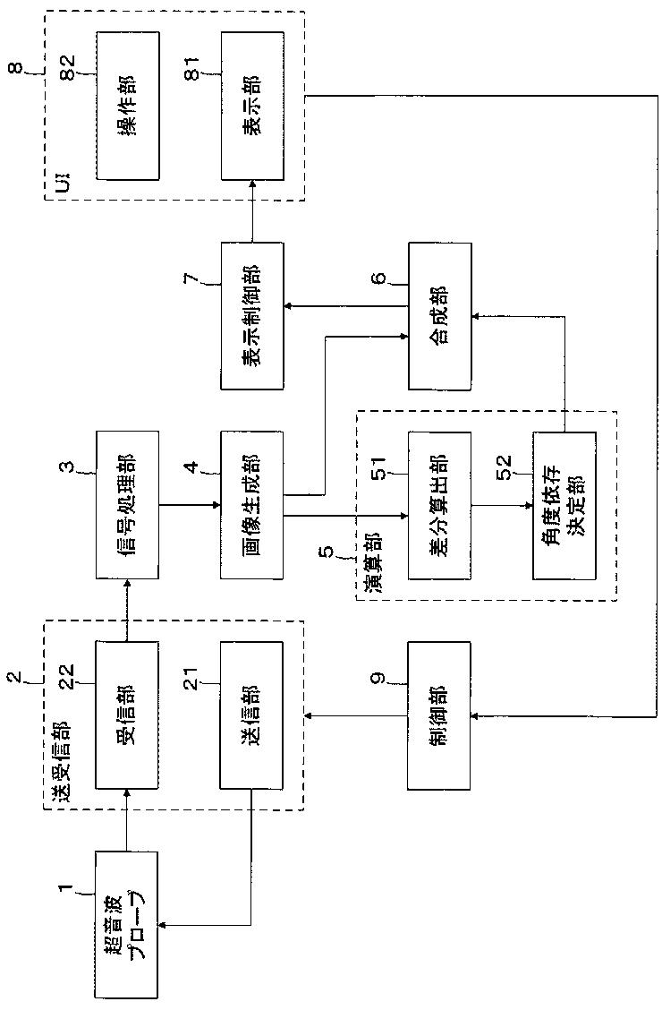
超音波診断装置
授权日
1900-01-01
公开(公告)号
JP2012071115A
申请日
2011-08-29
公开(公告)日
2012-04-12
当前申请(专利权)人
株式会社東芝 | 東芝メディカルシステムズ株式会社
发明人
鷲見 篤司 | 市岡 健一 | 中屋 重光
简单同族
CN102487603A | JP2012071115A | US20120157850A1 | WO2012029287A1
简单同族成员数量
4
简单同族被引用专利总数
21
诉讼案件数
0
法律状态/事件
撤回
抱歉,您的浏览器不支持PDF预览,请点击链接下载PDF文件