专利数据库
统计分析
产业报告
专利数据监控
产业人才
行业动态
产业政策法规
维权援助
个人中心
详情
文本
图像
标题
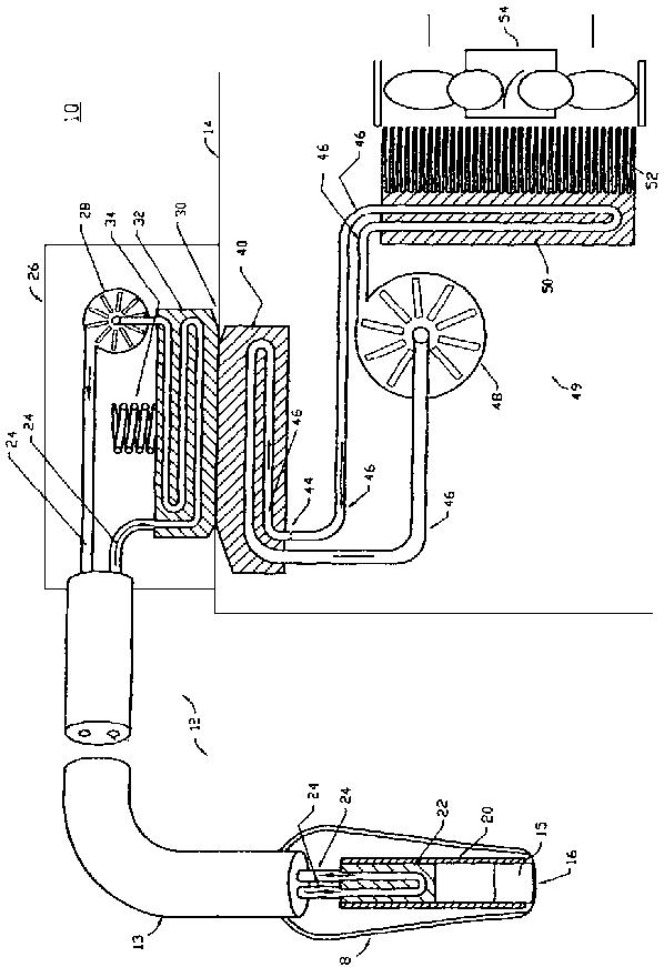
超音波トランスデューサから廃熱を除去するための冷却システムを使用するための方法
授权日
1900-01-01
公开(公告)号
JP2006198413A
申请日
2006-01-19
公开(公告)日
2006-08-03
当前申请(专利权)人
シーメンス メディカル ソリューションズ ユーエスエー インコーポレイテッド
发明人
ヴォーン アール マリアン | ウィリアム ジェイ パーク | ティモシー イー ピーターセン
简单同族
CN1820712A | DE102006002035A1 | JP2006198413A | KR1020060084389A | US20060173344A1
简单同族成员数量
5
简单同族被引用专利总数
74
诉讼案件数
0
法律状态/事件
驳回
抱歉,您的浏览器不支持PDF预览,请点击链接下载PDF文件