专利数据库
统计分析
产业报告
专利数据监控
产业人才
行业动态
产业政策法规
维权援助
个人中心
详情
文本
图像
标题
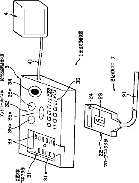
超音波診断装置
授权日
1900-01-01
公开(公告)号
JP2001258881A
申请日
2000-03-16
公开(公告)日
2001-09-25
当前申请(专利权)人
オリンパス光学工業株式会社
发明人
宮木 浩仲
简单同族
JP2001258881A | US20010023318A1 | US6869400
简单同族成员数量
3
简单同族被引用专利总数
23
诉讼案件数
0
法律状态/事件
驳回
抱歉,您的浏览器不支持PDF预览,请点击链接下载PDF文件