专利数据库
统计分析
产业报告
专利数据监控
产业人才
行业动态
产业政策法规
维权援助
个人中心
详情
文本
图像
标题
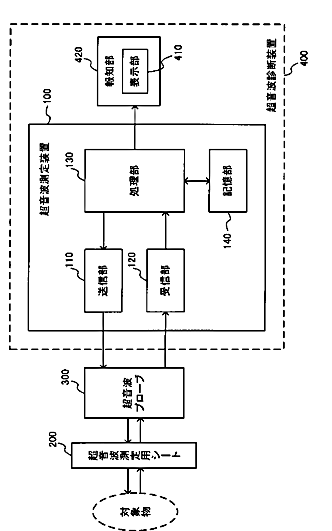
超音波測定装置、超音波診断装置及び超音波測定用シート
授权日
1900-01-01
公开(公告)号
JP2014138638A
申请日
2013-01-21
公开(公告)日
2014-07-31
当前申请(专利权)人
セイコーエプソン株式会社
发明人
林 正樹 | 渡邊 亮基
简单同族
JP2014138638A | JP6065602B2
简单同族成员数量
2
简单同族被引用专利总数
0
诉讼案件数
0
法律状态/事件
授权
抱歉,您的浏览器不支持PDF预览,请点击链接下载PDF文件