专利数据库
统计分析
产业报告
专利数据监控
产业人才
行业动态
产业政策法规
维权援助
个人中心
详情
文本
图像
标题
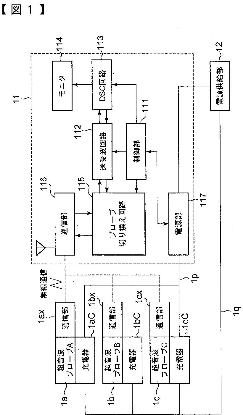
超音波プローブ、充電器、超音波診断装置及び超音波診断システム
授权日
2013-04-05
公开(公告)号
JP5236247B2
申请日
2007-10-19
公开(公告)日
2013-07-17
当前申请(专利权)人
パナソニック株式会社
发明人
黒川 晋哉
简单同族
JP2009095578A | JP5236247B2 | US20090112099A1 | US20130109973A1 | US8641629
简单同族成员数量
5
简单同族被引用专利总数
54
诉讼案件数
0
法律状态/事件
授权 | 权利转移
抱歉,您的浏览器不支持PDF预览,请点击链接下载PDF文件