专利数据库
统计分析
产业报告
专利数据监控
产业人才
行业动态
产业政策法规
维权援助
个人中心
详情
文本
图像
标题
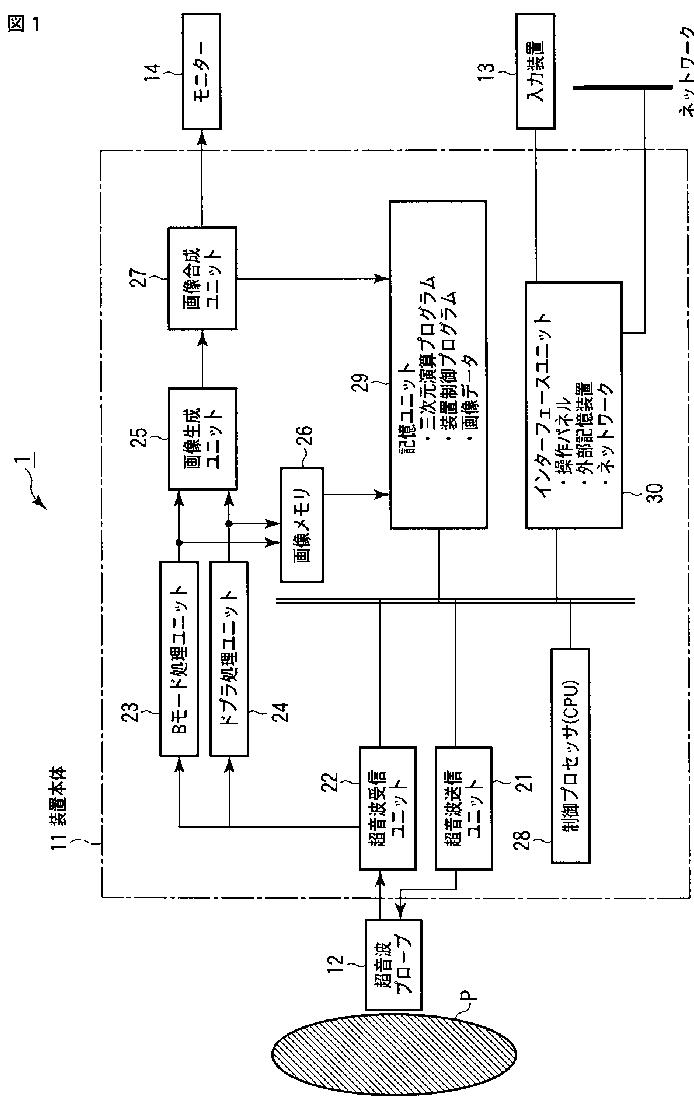
超音波診断装置、超音波画像処理装置及び超音波画像処理プログラム
授权日
1900-01-01
公开(公告)号
JP2010284516A
申请日
2010-05-11
公开(公告)日
2010-12-24
当前申请(专利权)人
株式会社東芝 | 東芝メディカルシステムズ株式会社
发明人
岡村 陽子 | 神山 直久 | 吉田 哲也
简单同族
CN101884553A | CN101884553B | EP2253275A1 | JP2010284516A | JP2015061659A | US20100286526A1
简单同族成员数量
6
简单同族被引用专利总数
21
诉讼案件数
0
法律状态/事件
驳回
抱歉,您的浏览器不支持PDF预览,请点击链接下载PDF文件