专利数据库
统计分析
产业报告
专利数据监控
产业人才
行业动态
产业政策法规
维权援助
个人中心
详情
文本
图像
标题
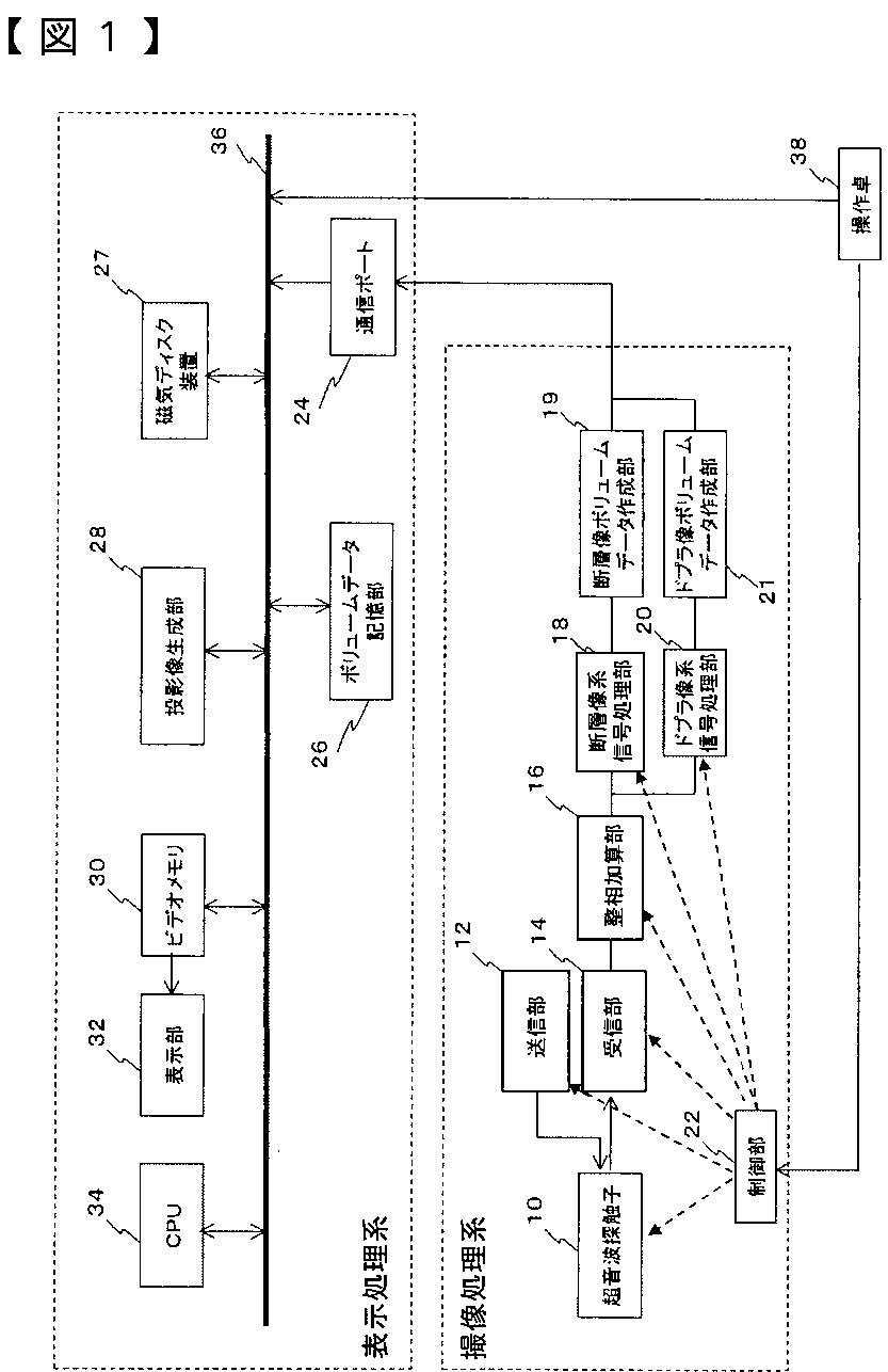
超音波撮像装置及び投影像生成方法
授权日
2011-10-21
公开(公告)号
JP4847334B2
申请日
2005-09-12
公开(公告)日
2011-12-28
当前申请(专利权)人
株式会社日立メディコ
发明人
林 哲矢 | 荒井 修
简单同族
JP4847334B2 | JPWO2006030731A1 | US20080260227A1 | US8160315 | WO2006030731A1
简单同族成员数量
5
简单同族被引用专利总数
40
诉讼案件数
0
法律状态/事件
授权 | 权利转移
抱歉,您的浏览器不支持PDF预览,请点击链接下载PDF文件