专利数据库
统计分析
产业报告
专利数据监控
产业人才
行业动态
产业政策法规
维权援助
个人中心
详情
文本
图像
标题
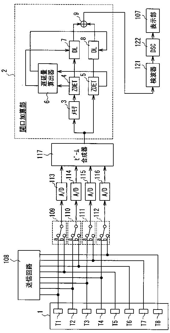
超音波診断装置
授权日
1900-01-01
公开(公告)号
JP2004261229A
申请日
2003-02-18
公开(公告)日
2004-09-24
当前申请(专利权)人
松下電器産業株式会社
发明人
西垣 森緒
简单同族
CN1750788A | EP1595501A1 | JP2004261229A | US20060241444A1 | WO2004073520A1
简单同族成员数量
5
简单同族被引用专利总数
23
诉讼案件数
0
法律状态/事件
撤回
抱歉,您的浏览器不支持PDF预览,请点击链接下载PDF文件