专利数据库
统计分析
产业报告
专利数据监控
产业人才
行业动态
产业政策法规
维权援助
个人中心
详情
文本
图像
标题
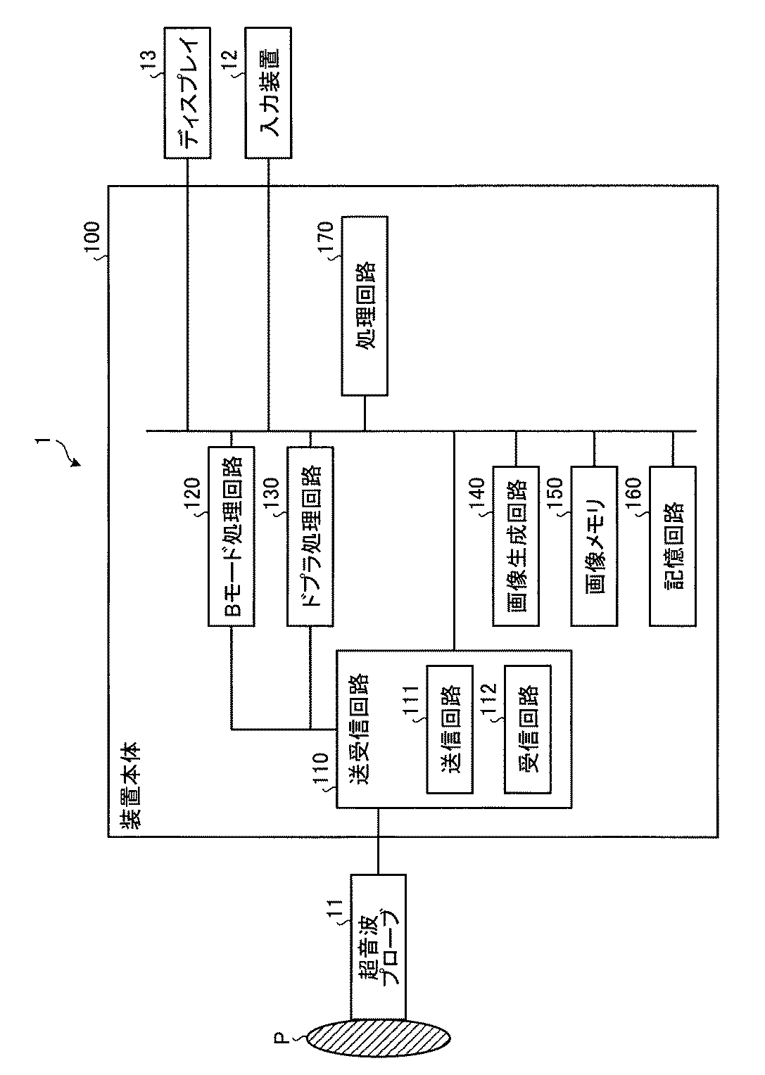
超音波診断装置、画像処理装置及び画像処理プログラム
授权日
1900-01-01
公开(公告)号
JP2018122082A
申请日
2017-12-28
公开(公告)日
2018-08-09
当前申请(专利权)人
キヤノンメディカルシステムズ株式会社
发明人
佐藤 武史 | 高橋 広樹
简单同族
EP3613349A1 | JP2018122082A
简单同族成员数量
2
简单同族被引用专利总数
0
诉讼案件数
0
法律状态/事件
公开
抱歉,您的浏览器不支持PDF预览,请点击链接下载PDF文件