专利数据库
统计分析
产业报告
专利数据监控
产业人才
行业动态
产业政策法规
维权援助
个人中心
详情
文本
图像
标题
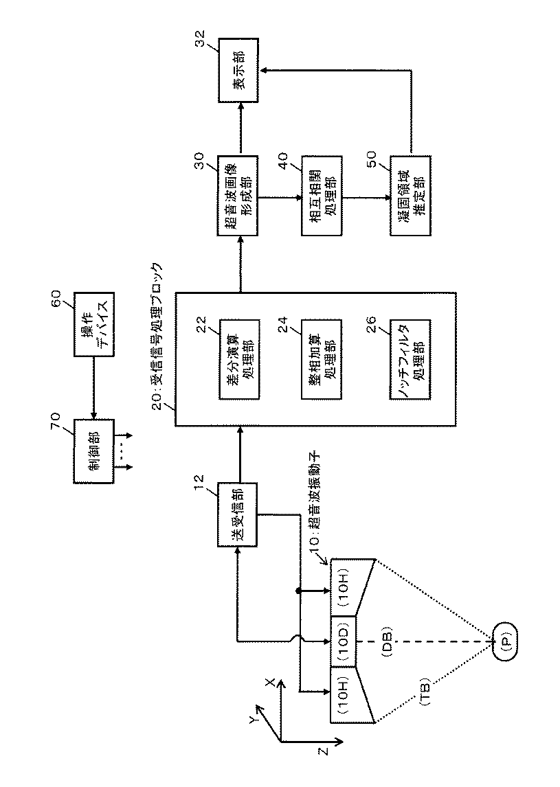
超音波医用装置
授权日
1900-01-01
公开(公告)号
JP2017023498A
申请日
2015-07-24
公开(公告)日
2017-02-02
当前申请(专利权)人
国立大学法人東北大学 | 株式会社日立製作所
发明人
吉澤 晋 | 高木 亮 | 梅村 晋一郎 | 玉野 聡
简单同族
JP2017023498A | JP6633314B2
简单同族成员数量
2
简单同族被引用专利总数
0
诉讼案件数
0
法律状态/事件
授权 | 权利转移
抱歉,您的浏览器不支持PDF预览,请点击链接下载PDF文件