专利数据库
统计分析
产业报告
专利数据监控
产业人才
行业动态
产业政策法规
维权援助
个人中心
详情
文本
图像
标题
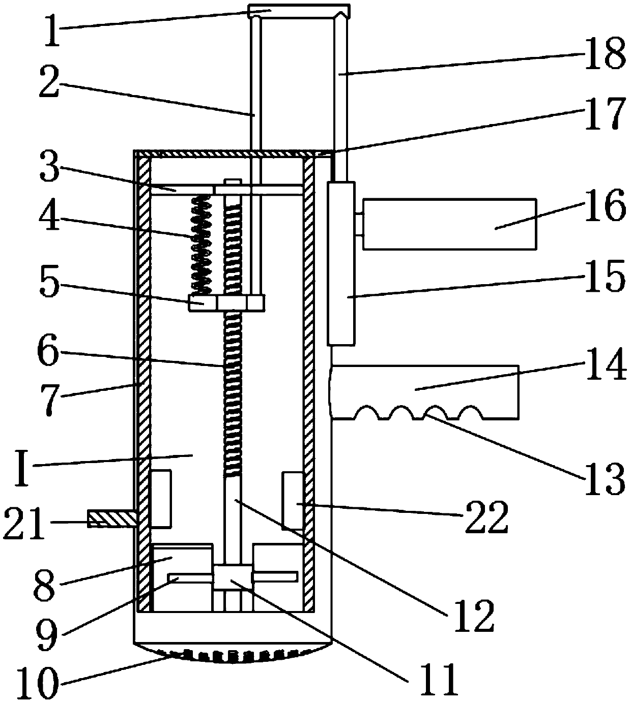
一种多功能超声科用耦合剂涂抹装置
授权日
2020-04-21
公开(公告)号
CN210354730U
申请日
2019-04-17
公开(公告)日
2020-04-21
当前申请(专利权)人
周遵梅
发明人
周遵梅 | 周晓凌 | 黄玉丹
简单同族
CN210354730U
简单同族成员数量
1
简单同族被引用专利总数
0
诉讼案件数
0
法律状态/事件
授权
抱歉,您的浏览器不支持PDF预览,请点击链接下载PDF文件