专利数据库
统计分析
产业报告
专利数据监控
产业人才
行业动态
产业政策法规
维权援助
个人中心
详情
文本
图像
标题
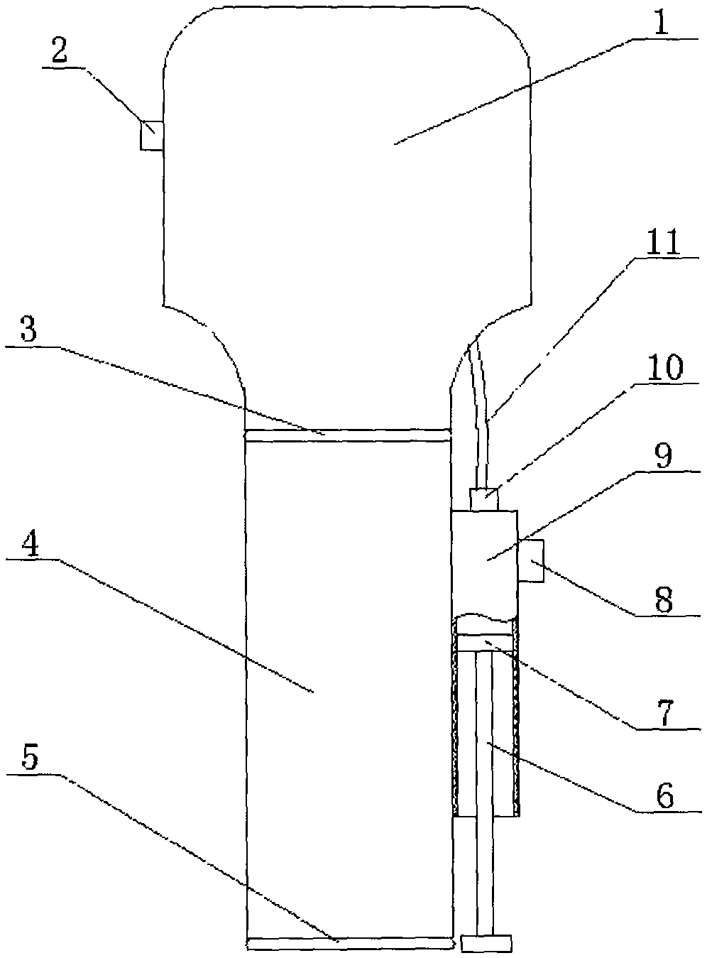
一种超声探头隔离套
授权日
2016-03-02
公开(公告)号
CN205054270U
申请日
2015-10-19
公开(公告)日
2016-03-02
当前申请(专利权)人
郑州人民医院
发明人
吕新华 | 吕彦利 | 高白 | 荆波 | 苏航 | 孙新党 | 郭朝锋
简单同族
CN205054270U
简单同族成员数量
1
简单同族被引用专利总数
0
诉讼案件数
0
法律状态/事件
未缴年费
抱歉,您的浏览器不支持PDF预览,请点击链接下载PDF文件