专利数据库
统计分析
产业报告
专利数据监控
产业人才
行业动态
产业政策法规
维权援助
个人中心
详情
文本
图像
标题
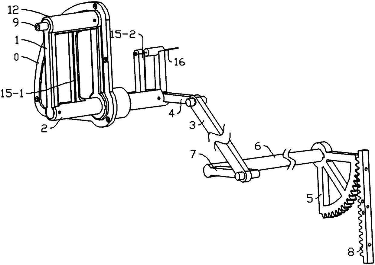
一种用于乳腺超声断层成像系统的固定乳腺的操作手柄
授权日
1900-01-01
公开(公告)号
CN109350117A
申请日
2018-12-05
公开(公告)日
2019-02-19
当前申请(专利权)人
武汉维视医学影像有限公司
发明人
倪举鹏 | 丁明跃 | 尉迟明
简单同族
CN109350117A
简单同族成员数量
1
简单同族被引用专利总数
0
诉讼案件数
0
法律状态/事件
实质审查
抱歉,您的浏览器不支持PDF预览,请点击链接下载PDF文件