专利数据库
统计分析
产业报告
专利数据监控
产业人才
行业动态
产业政策法规
维权援助
个人中心
详情
文本
图像
标题
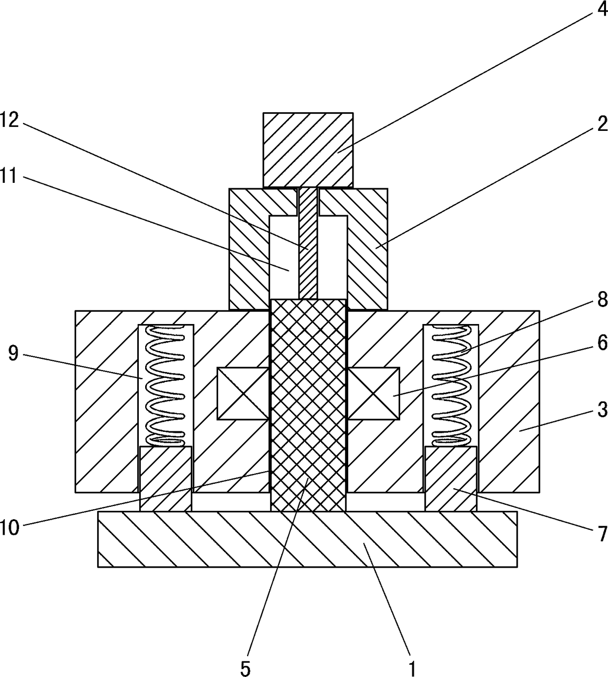
用于弹性成像的压力感应超声探头
授权日
2013-06-19
公开(公告)号
CN203000987U
申请日
2012-12-28
公开(公告)日
2013-06-19
当前申请(专利权)人
汕头市超声仪器研究所有限公司
发明人
李德来 | 郭境峰 | 蔡泽杭 | 林国臻
简单同族
CN203000987U
简单同族成员数量
1
简单同族被引用专利总数
0
诉讼案件数
0
法律状态/事件
授权
抱歉,您的浏览器不支持PDF预览,请点击链接下载PDF文件