专利数据库
统计分析
产业报告
专利数据监控
产业人才
行业动态
产业政策法规
维权援助
个人中心
详情
文本
图像
标题
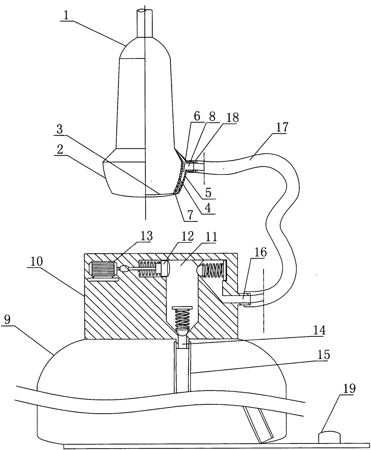
一种自供耦合剂型B超探头
授权日
2015-12-16
公开(公告)号
CN204863271U
申请日
2015-08-26
公开(公告)日
2015-12-16
当前申请(专利权)人
孙辉
发明人
孙辉
简单同族
CN204863271U
简单同族成员数量
1
简单同族被引用专利总数
0
诉讼案件数
0
法律状态/事件
未缴年费
抱歉,您的浏览器不支持PDF预览,请点击链接下载PDF文件