专利数据库
统计分析
产业报告
专利数据监控
产业人才
行业动态
产业政策法规
维权援助
个人中心
详情
文本
图像
标题
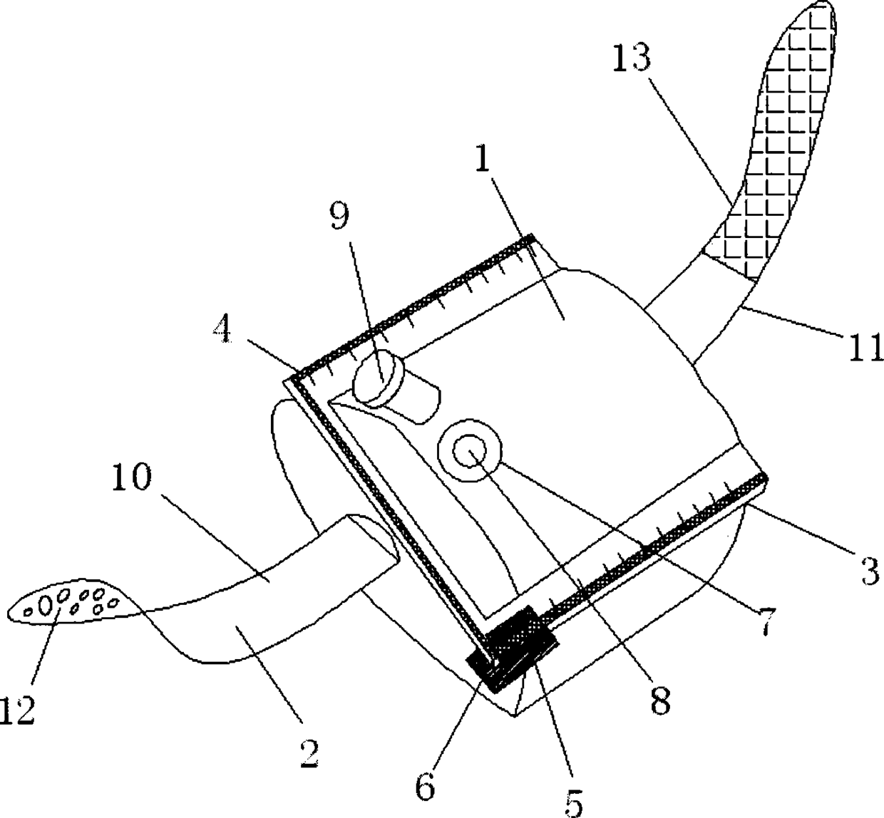
一种超声诊断辅助水囊
授权日
2014-07-09
公开(公告)号
CN203693638U
申请日
2014-02-12
公开(公告)日
2014-07-09
当前申请(专利权)人
秘兴锋
发明人
秘兴锋 | 王强 | 周林霞
简单同族
CN203693638U
简单同族成员数量
1
简单同族被引用专利总数
0
诉讼案件数
0
法律状态/事件
未缴年费
抱歉,您的浏览器不支持PDF预览,请点击链接下载PDF文件