专利数据库
统计分析
产业报告
专利数据监控
产业人才
行业动态
产业政策法规
维权援助
个人中心
详情
文本
图像
标题
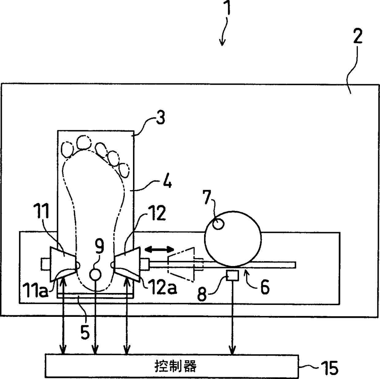
超声波骨评价装置
授权日
2012-02-15
公开(公告)号
CN1846631B
申请日
2006-03-17
公开(公告)日
2012-02-15
当前申请(专利权)人
古野电气株式会社
发明人
新井龙雄
简单同族
CN1846631A | CN1846631B | GB0604847D0 | GB2424276A | GB2424276B | US20060241439A1 | US7942819
简单同族成员数量
7
简单同族被引用专利总数
18
诉讼案件数
0
法律状态/事件
授权
抱歉,您的浏览器不支持PDF预览,请点击链接下载PDF文件