专利数据库
统计分析
产业报告
专利数据监控
产业人才
行业动态
产业政策法规
维权援助
个人中心
详情
文本
图像
标题
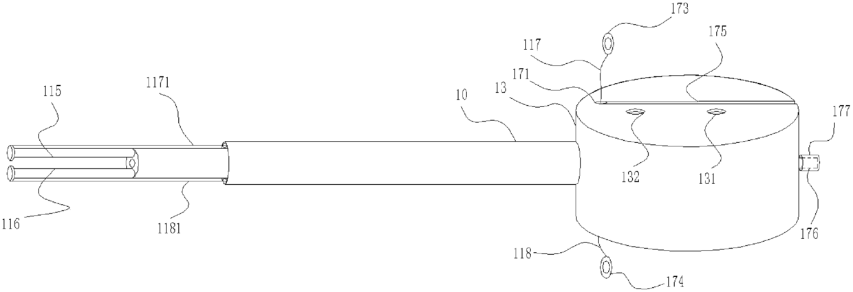
一种用于治疗膀胱癌的植入式化疗输注系统
授权日
1900-01-01
公开(公告)号
CN107174726A
申请日
2017-06-22
公开(公告)日
2017-09-19
当前申请(专利权)人
代建华 | 单及美
发明人
许玲玲
简单同族
CN107174726A | CN107174726B
简单同族成员数量
2
简单同族被引用专利总数
0
诉讼案件数
0
法律状态/事件
授权 | 权利转移
抱歉,您的浏览器不支持PDF预览,请点击链接下载PDF文件