专利数据库
统计分析
产业报告
专利数据监控
产业人才
行业动态
产业政策法规
维权援助
个人中心
详情
文本
图像
标题
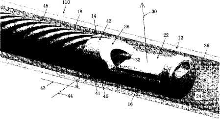
带有流体冲洗的成像探针壳体
授权日
1900-01-01
公开(公告)号
CN101902973A
申请日
2008-12-17
公开(公告)日
2010-12-01
当前申请(专利权)人
爱思特医疗系统公司
发明人
罗伯特·泽伦卡 | 托马斯·摩尔
简单同族
CA2708957A1 | CA2708957C | CN101902973A | CN101902973B | EP2252217A2 | EP2252217A4 | EP2252217B1 | EP2252217B8 | JP2011507619A | JP2011507619A5 | JP2014057866A | JP5405485B2 | JP5836349B2 | KR101486827B1 | KR1020100093121A | US10420456 | US20090177093A1 | US20120277592A1 | US20150313453A1 | US20190357756A1 | US8167809 | US9198638 | WO2009085849A2 | WO2009085849A3
简单同族成员数量
24
简单同族被引用专利总数
19
诉讼案件数
0
法律状态/事件
授权 | 权利转移
抱歉,您的浏览器不支持PDF预览,请点击链接下载PDF文件