专利数据库
统计分析
产业报告
专利数据监控
产业人才
行业动态
产业政策法规
维权援助
个人中心
详情
文本
图像
标题
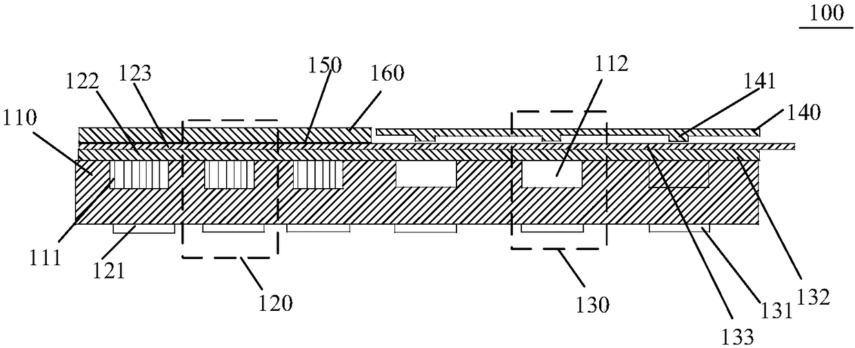
具有触压和超声功能的传感器
授权日
2018-09-04
公开(公告)号
CN207816294U
申请日
2018-01-16
公开(公告)日
2018-09-04
当前申请(专利权)人
北京先通康桥医药科技有限公司
发明人
宋军华 | 王洪超 | 王晓琴 | 陈金 | 薄云峰
简单同族
CN207816294U
简单同族成员数量
1
简单同族被引用专利总数
0
诉讼案件数
0
法律状态/事件
授权 | 质押
抱歉,您的浏览器不支持PDF预览,请点击链接下载PDF文件